10亿元股权被冻结?哪吒汽车回应:系误解,法院已解除公司财产保全
11月25日,哪吒汽车方面回复记者称,法院已经撤销。
日前,有消息称,哪吒汽车10亿元股权被冻结。“这是公司的一个合同纠纷财产被保全,被误解为10亿元股权冻结。”11月25日,哪吒汽车方面回复记者称,法院已经撤销。
记者查阅天眼查发现,哪吒汽车母公司合众新能源股份有限公司在2024年11月19日新增了一条高达10亿元的股权冻结信息,案号为(2024)浙0483民诉前调15604号。
图片来源:天眼查(现已撤销)
天眼查显示,(2024)浙0483民诉前调15604号公示日期为2024年11月19日,股权被执行的企业为哪吒新能源汽车制造有限公司,被执行人持有股权、其他投资权益的数额为10亿元人民币,冻结期限自2024年11月19日至2027年11月18日,执行法院为桐乡市人民法院。“上述公示的冻结金额数据有误,是1000万元,而非10亿元,现已撤销。”11月25日下午3点,哪吒汽车相关负责人告诉记者表示。
11月25日下午3点后,记者刷新天眼查官网发现,案号为(2024)浙0483民诉前调15604号的股权冻结消息已被删除。
哪吒汽车方面告诉记者,日前,桐乡市人民法院就本司与索密克汽车配件有限公司合同纠纷一案,做出的财产保全裁定,引发相关平台及媒体误读为“10亿股权”被冻结。现经合众新能源汽车有限公司申请,桐乡市人民法院已解除对合众新能源汽车股份有限公司持有的哪吒新能源汽车制造有限公司100%的股权采取的财产保全措施。
记者从桐乡市人民法院2024年11月22日下发的一份民事裁定书内容了解到,就索密克汽车配件有限公司与合众新能源汽车股份有限公司合同纠纷一案,桐乡市人民法院于2024年10月31日作出(2024)浙0483民诉前调15604号民事裁定,冻结合众新能源汽车股份有限公司银行存款11441845.76元(约1144.18万元)或查封相应价值的财产。
不过,合众新能源汽车股份有限公司以实际保全的金额已超额为由向本院申请解除部分财产的保全措施,并提交了相应材料佐证。桐乡市人民法院在(2024)浙0483民诉前调15604号民事裁定书中明确,本院经审查认为,申请人(即合众新能源汽车股份有限公司)的申请符合法律规定,应予以准许。
依照相关法律规定,桐乡市人民法院裁定,“解除对合众新能源汽车股份有限公司持有的哪吒新能源汽车制造有限公司100%的股权采取的财产保全措施”。
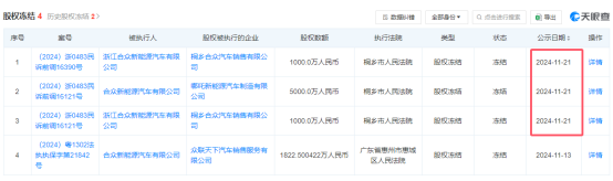
上述股权冻结信息撤销后,合众新能源汽车股份有限公司仍还存有4条股权冻结信息。其中,11月21日新增了三条股权冻结信息,股权冻结数额累计7000万元。“这几个也都是合同纠纷,正在和解中。”上述哪吒汽车相关负责人表示。
图片来源:天眼查
事实上,近期哪吒汽车一直处在裁员、降薪、战略调整等负面消息的漩涡中。在10月底,曾有消息称,哪吒汽车开始实施面向全部研发人员的降薪计划,10月29日起各部门员工陆续收到降薪通知。10月30日,哪吒汽车方面回复记者时称,10月29日,哪吒汽车正式启动公司全员股权激励计划,将拿出5%的股份(估值约20亿元),作为股权激励分配给全体员工,同时内部宣布了工资及绩效考核的新方案。
11月14日,一位接近哪吒汽车的知情人士曾向记者透露,哪吒汽车将大幅压缩整合一二级部门,优化管理层级,同时强化对大模型等新型AI工具的运用,预计本轮调整后人效将提高40%,组织运营效率提高50%,相关运营费用大幅降低50%以上。“此次战略调整后,哪吒汽车将配置更多资源专注海外市场拓展,同时在国内聚焦优势车型的可持续运营,确保每一笔投入都能产生切实的回报。”彼时,哪吒汽车方面称。
在外界看来,哪吒汽车正在进行的一系列战略调整,是为在港股实现IPO作准备。今年6月,哪吒汽车方面宣布,母公司合众新能源汽车股份有限公司(以下简称合众汽车)于6月26日向港交所递交上市申请,中金、摩根士丹利、中信证券、农银国际、招银国际为联席保荐人。
招股书显示,2021~2023年,合众汽车总收入分别约50.89亿元、130.5亿元和135.55亿元。合众汽车方面表示,公司营收的增长,主要得益于汽车及零部件的销售收入。毛利率方面,合众汽车毛利率由2021年的-34.4%提升至2022年的-22.5%,2023年提升至-14.9%。
不过,合众汽车仍处于亏损状态。招股书显示,2021~2023年,合众汽车经营亏损分别约45.05亿元、59.51亿元和67.58亿元,累计亏损约172.14亿元。
对于公司近期进行的战略调整,哪吒汽车方面称,公司的目的是力争2025年2月实现经营现金流转正。
编辑:胡晨曦
声明:新华财经为新华社承建的国家金融信息平台。任何情况下,本平台所发布的信息均不构成投资建议。如有问题,请联系客服:400-6123115












