中东主权财富基金这一轮如何调仓?仓位最重的基金持仓已近90亿
从目前公开的半年报数据来看,主权财富基金在A股的身影比以往更活跃了。阿布达比投资局依旧霸气,持仓市值一举冲上87亿元,覆盖20只A股;而科威特政府投资局也在加码制造和资源类资产,虽然只拿了8只个股,但组合紧凑、调仓节奏清晰。
每年到了上市公司定期报告披露季,作为境外专业投资者代表的QFII的调仓举动尤其受到关注。尤其是主权财富基金,向来被市场视为“长线聪明钱”的代表,调仓动作总能透露一些大资金对市场风格和板块轮动的判断。
从目前公开的半年报数据来看,主权财富基金在A股的身影比以往更活跃了。阿布达比投资局依旧霸气,持仓市值一举冲上87亿元,覆盖20只A股;而科威特政府投资局也在加码制造和资源类资产,虽然只拿了8只个股,但组合紧凑、调仓节奏清晰。
与此同时,其余主权财富基金如新加坡政府投资公司、香港金融管理局、澳门金融管理局也同步现身,它们的配置风格各有侧重,有的偏爱消费防御,有的持续看好科技成长。
“这类主权基金其实就是慢慢买、慢慢调,不太可能像短线热钱那样一拥而上,但正因为这样,他们的持仓变动才更有参考价值,”一位外资机构投研负责人表示,“它们愿意加码的方向,往往意味着业绩和估值开始进入性价比区间。”
中东主权基金出手稳准狠,阿布达比与科威特调仓路径各异
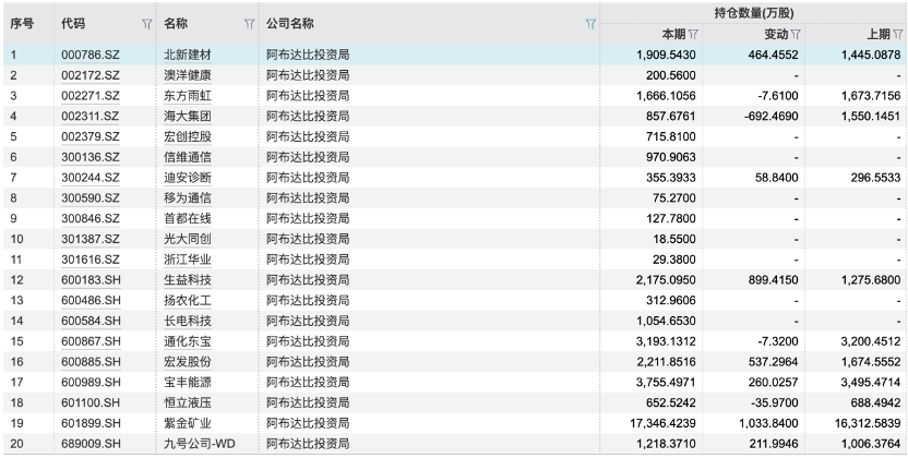
从最新披露的中报持仓数据来看,阿布达比投资局在本期共持有20只A股个股,合计持股数量达38847.48万股,总市值高达87.42亿元,已逼近90亿元人民币大关,成为所有主权类QFII中仓位最重的机构。
科威特政府投资局则相对集中,仅持有8只股票,但累计持股数量也达1.02亿股,持仓市值为19.80亿元,布局策略更具“压强感”。
在阿布达比投资局的持仓结构中,紫金矿业稳居第一大重仓股。截至二季度末持股规模高达1.73亿股,环比上季度加仓1033.84万股,对应持仓市值达33.83亿元,不仅大幅领先其余全部个股,也成为阿布达比投资局A股组合中最重要的权重资产。紫金矿业年内受益于金属价格回暖及海外项目落地,基本面改善带动股价持续上行,该机构的增持操作被视为对资源型龙头的中长期布局。
位列第二的是九号公司-WD,持仓为1218.37万股,本期加仓211.99万股,持仓市值达7.21亿元。这是一家可穿戴与智能出行产品制造商,兼具科技与消费属性,亦符合主权基金偏好稳定增长与全球业务基础的选股逻辑。
紧随其后的是生益科技,本期持仓2175.10万股,环比加仓899.42万股,持仓市值为6.56亿元;以及宝丰能源和北新建材,持仓分别为3755.50万股和1909.54万股,市值为6.06亿元和5.06亿元,也均处于其A股组合的核心梯队。上述标的主要分布于化工、新材料、建材等行业,也反映出阿布达比对制造链条中具有成本优势和业绩稳定性的龙头公司更为偏好。
从调仓角度来看,阿布达比投资局在本期对所有前五大持仓股均为加仓操作,其中紫金矿业加仓幅度最为明显,加仓超1000万股。此举表明其在高景气周期中进一步做多已验证赛道,而非短期防守性调仓。同时,该机构在多个二线行业龙头中亦有加仓动作,显示其整体策略并非集中押注少数大市值个股,而是在多条中观产业线上进行分散布局。
除此之外,阿布达比投资局还新进到了9家上市公司的前十大流通股名单中,其中长电科技持股最多,达到1054.65万股,持仓市值达3.55亿元;信维通信持仓970.91万股,持仓市值为2.17亿元,扬农化工的持仓市值也在亿元以上。
减持方面,阿布达比投资局共减持4只股票,其中海大集团减仓最多,为692.47万股,恒立液压则减持了35.97万股,东方雨虹和通化东宝少量减持7.61万股、7.32万股。
相比之下,科威特政府投资局的配置风格更偏向“中小市值+成长性”。其持仓市值最重的股票为恒立液压,本期持有612.99万股,较上季度加仓130.85万股,持仓市值为4.41亿元;同时也大幅加仓了松原安全(加仓103.61万股)和金诚信(加仓87.99万股),分别对应市值1.05亿元和3.30亿元,集中体现其对高端制造和资源产业链的押注逻辑。
值得注意的是,科威特政府投资局本期还新进买入了昆药集团,持股为565.89万股,市值为8097.92万元,也新进到巨星科技的前十大流通股中,持股1100.82万股,持仓市值为2.81亿元。
另一方面,科威特政府投资局在新集能源上进行了明显减仓,减持了358.58万股,剩余持仓为3267.61万股,市值为2.11亿元元。有分析认为,这可能是其对周期股的阶段性获利兑现,也可能是出于行业景气周期下行的风险控制考虑。
GIC重仓制造成长,港澳新晋与减持并存
除了中东资金,其余地区的主权财富基金也在本期中报中集体现身,继续在A股市场维持活跃身影。具体来看,新加坡政府投资公司(GIC)、香港金融管理局和澳门金融管理局三家机构共计持有13只A股股票,合计持仓数量达1.43亿股,对应持仓市值28.40亿元,较此前季度有所增长。
从具体持仓看,GIC本期对高端装备股柏楚电子进行了加仓,增持90.62万股,合计持仓达428.31万股,持仓市值达5.64亿元,显示出其在智能装备与电力设备方向上的延续性关注。对华明装备减持374.39万股,持仓仍有982.57万股,对应市值为1.64亿元。
澳门金融管理局则成为二季度中操作最为积极的主权类资金之一,共9只股票,持仓个股涵盖资源、消费、医药、新能源等多个行业,布局颇具分散性。
澳门金融管理局截至二季度最大持仓为巨星科技,持有1673.48万股,环比大幅加仓476.27万股,持仓市值达4.27亿元,显示出对消费制造类龙头的认可。其次是金诚信,本期加仓38.40万股至907.44万股,持仓市值达4.21亿元;华润三九亦被显著加仓456.54万股至1040.49万股,市值达3.25亿元,成为其医药配置的重点。
同时,澳门金融管理局对新集能源减持509.88万股后,仍保有3234.45万股,市值2.09亿元;而对银轮股份、天成自控维持稳定持仓741.31万股、242.68万股,市值1.80亿元、2793.21万元。
值得注意的是,昆药集团为澳门金融管理局新晋入场个股,持股876.43万股,市值达1.25亿元,也为其医药板块增添新的配置维度。属消费板块的森马服饰也新增了该机构为前十大流通股东,持股为1599.56万股。
香港金融管理局则继续保持其一贯的防御风格,对承德露露持仓1252.21万股,虽减持116.55万股,但持仓市值仍达1.14亿元;另对伟星新材减持66万股后仍持有982.04万股,持仓市值1.02亿元,两者均属于防御型消费或建材类标的。
从整体调仓路径来看,三家地区主权基金合计有多个增持操作,尤其澳门方向呈现出明显加仓与新进并举的策略,显示其对部分行业景气回升的响应意图。
“新加坡偏科技、澳门偏制造消费、香港稳守防御资产”已逐渐形成各自独特的风格曲线。一位沪上量化机构合伙人表示:“港澳资金的风格偏长期稳定,新加坡更具进攻属性,整体上主权资金的逻辑依旧偏中期景气判断,不太受短期市场波动干扰。”
编辑:胡晨曦
声明:新华财经(中国金融信息网)为新华社承建的国家金融信息平台。任何情况下,本平台所发布的信息均不构成投资建议。如有问题,请联系客服:400-6123115











