首页
资讯
研报
数据
行情
工具
直播
金融超市
投教
指数
产品与服务
主题
要闻
快讯
宏观
股市
债市
汇市
货币
大宗
区域
同业
产业
热点
金融街发布
江北嘴发布
今日观察
金鱼嘴发布
首页
股票
债券
外汇
基金
期货
指数
财经日历
宏观数据
研报金榜
合规评测
丝路数据库
新华财经
点金学堂
ESG
投教基地
路演中心
外汇信息服务
新华丝路
丝路资讯/智讯/案例/全球数据/知识产权
大讲堂
多语言
新华信用
企业信用
信用发布
信用领跑
城市信用
新华指数
指数发布
指数授权
报告编制
智库咨询
定制化服务
空间系统
产品下载
专业终端(基础版)
专业终端(智能升级版)
专业终端(智能政务版)
首页
>
快讯
>
正文
已订阅
订阅
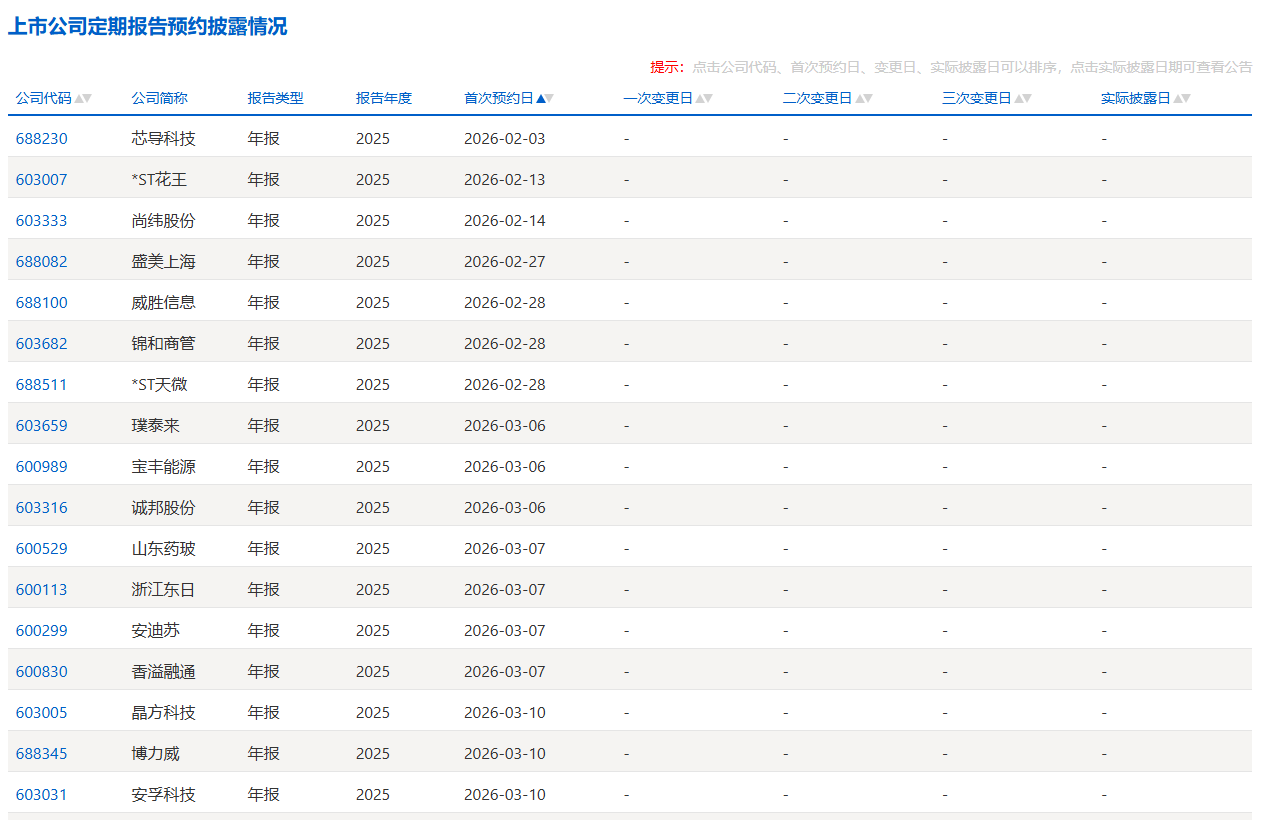
沪市公司2025年报预约披露时间出炉,芯导科技将于2026年2月3日率先披露年报,*ST花王、尚纬股份紧随其后,分别在2026年2月13日、2026年2月14日披露。
新华财经
|
2025年12月25日
阅读量:
传播矩阵
最新要闻
更多
【环球财经】英媒曝海湾国家正考虑新修油管绕开霍尔木兹海峡
【环球财经】中东局势再次升温 欧洲能源价格显著上涨
【财经分析】美以伊战事重构棕榈油定价逻辑 二季度将如何演绎?
霍尔木兹海峡“梗阻”加剧,石油石化板块表现活跃,5股年内大涨超50%
国务院食安办 市场监管总局 海关总署约谈3家平台企业
热点专题
更多
2026全球南方金融家论坛
2025广州投资顾问大会暨财富管理转型发展会议
2025全球熊猫伙伴大会