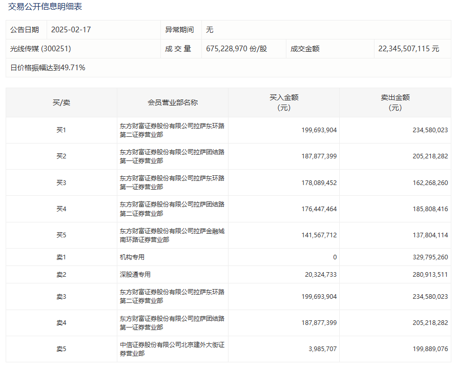
光线传媒17日价格振幅达到49.71%,成交额223.46亿元,位列两市首位,换手率24.23%。盘后龙虎榜数据显示,一机构卖出3.3亿元,深股通净卖出2.61亿元,卖出金额最大的前五名营业部合计净卖出近8.39亿元。
新华财经|2025年02月17日
阅读量:

新华财经声明:本文内容仅供参考,不构成投资建议。投资者据此操作,风险自担。













